合作客戶/
拜耳公司 |
同濟大學 |
聯合大學 |
美國保潔 |
美國強生 |
瑞士羅氏 |
相關新聞Info
-
> 基于表面張力等工藝參數控制耐堿玻璃纖維網格布浸膠量
> 氣液液微分散體系的微流控制備方法及在稀土離子萃取領域的應用(上)
> 新型十六烷基胺無堿表面活性劑的合成、界面性能及復配性能(二)
> 瀝青質及其亞組分與烷基苯磺酸鈉水溶液在降低IFT中的協同機理(二)
> 棕櫚酸二甘醇酰胺無堿條件下降低大慶原油/地層水界面張力——摘要、材料與方法
> 超微量天平和電子天平的區別,電子天平的測量范圍與選擇
> ?納米乳液NR-A脫附除油機理及效果
> 不同干燥方式對蛋清蛋白功能特性、溶解度、接觸角、表面張力的影響(四)
> 結合邏輯知識及力的三要素探討表面張力的客觀性
> 物理高考考點:晶體、毛細現象、表面張力
全自動張力測定儀揭示子細胞表面張力對胞質分裂結局的主導作用(二)
來源: 《太原理工大學學報》 瀏覽 13 次 發布時間:2025-12-25
2結果與討論
2.1不同細胞骨架蛋白抑制劑對細胞表面張力影響的比較
實驗中,分別單獨加入骨架蛋白抑制劑2μmol/L CD和30μmol/L blebbistatin,再同時加入2μmol/L CD和30μmol/L blebbistatin。各組細胞處理15~20 min后進行細胞表面張力測量。利用公式(1)計算細胞表面張力,實驗結果見表1。
各組細胞的表面張力γ經過OriginPro 8.0統計,結果以均數±標準偏差表示。對處理組與對照組細胞表面張力γ進行t檢驗,經過相關性統計分析,均有顯著性差異(P<0.05)。
可以看到,不同細胞骨架蛋白抑制劑對細胞表面張力均有顯著影響,處理組細胞表面張力較對照組顯著降低。其中經過CD處理細胞的下降幅度最大,較對照組降低約87%,顯示肌動蛋白骨架網絡是NRK細胞表面張力的最重要影響因素;經過blebbistatin處理后的細胞表面張力約為對照組細胞的60%,反映出肌球蛋白II分子馬達活性的維持對細胞表面張力的影響程度,表明細胞內主動性運動的抑制對于細胞整體的力學特性有直接的影響。經過blebbistatin處理后的細胞表面張力是CD處理后的2.5倍左右,統計數據顯示兩者之間有顯著性差異(P<0.05)。在CD和blebbistatin同時作用下,細胞的表面張力降低大約70%,與blebbistatin或CD單獨作用下的數據有顯著性差異(P<0.05),但是可以看出CD和blebbistatin同時作用下細胞表面張力降低的效果不是簡單的線性關系。
結果一方面說明了blebbistatin對細胞表面張力的作用有其獨立性,另一方面說明肌動蛋白與肌球蛋白II的ATP酶活性之間有著緊密而又復雜的聯系,值得進一步研究。
2.2抑制單側子細胞極區肌動蛋白聚合對間橋變形的影響
在分裂溝內陷出現后,利用5μmol/L CD抑制單側子細胞極區皮層肌動蛋白聚合,采用單側極區加入不含CD但是含有質量分數0.02%DMSO的培養液作為對照組,并且利用整體blebbistatin處理細胞,在抑制收縮環主動性收縮的狀態下,向單側極區加入CD作對比。局部抑制劑作用下的細胞變形如圖4所示。在內陷發生之后,在正常或整體施加blebbistatin的實驗條件下抑制單側極區肌動蛋白裝配,均不能阻止胞質分裂進程,各組細胞都能完成分裂。表明在胞質分裂內陷發生后,極區皮層肌動蛋白的異常裝配不會抑制胞質分裂,細胞胞質分裂進程持續進行。在這種狀態下,我們運用分析手段去進一步研究單側極區子細胞表面張力對胞質分裂中細胞變形的影響,以此了解胞質分裂進程中胞漿流動和皮層力學特性之間的聯系。
圖4局部抑制劑作用下的細胞變形過程
分別測量三組細胞胞質分裂進程中分裂溝間橋的長度和直徑,獲得每組細胞的D?位置,做出細胞分裂溝間橋相對直徑對時間的變化曲線,見圖5。
可以看出,對照組細胞單側極區CD處理之后的間橋變形趨勢(圖5-c)與未經處理的對照組細胞(圖5-a)相似,但是細胞間橋直徑的變化曲線不平滑,并且在D?點之后相對直徑維持在1附近。結果表明細胞間橋的變形在單側極區肌動蛋白受抑制情況下因兩側子細胞表面張力的不平衡而反復波動,間橋直徑在D?之后即0~200 s間的相對穩定可能是由于細胞在此處不斷調節整體表面張力引起的,隨著胞質分裂進行,兩極表面張力也逐步調節至相似水平。依據趨勢圖(圖5-c)我們認為:兩個子細胞和整個細胞表面張力的調節是細胞完成分裂的必需步驟,在細胞整體的表面張力沒有平衡之前,細胞間橋的收縮速率會不斷調節,甚至維持在一定范圍震蕩。
從整體施加blebbistatin的細胞組可以看出,單側利用CD處理的實驗組細胞與對照組細胞的細胞間橋變形趨勢間出現了差異。在整體存在blebbistatin的狀態下,同時局部利用CD處理極區皮層會導致細胞間橋變形近似一條直線(圖5-d),而只采用整體blebbistatin處理的細胞在D?點之前表現出典型的指數衰減(圖5-b)。這是由于經過兩種抑制劑的共同作用,在降低整體表面張力的基礎上大幅降低了單側子細胞的表面張力,使得細胞間橋變形近似于彈性松弛模型,該模型描述的是由細胞膜的粘彈性和皮層張力決定、由細胞內拉普拉斯壓力差主導的細胞間橋變形,表現為線性變化。與對照組細胞單側極區施加CD(圖5-c)相比,整體施加blebbistatin并且進行抑制單側極區肌動蛋白的細胞(圖5-d)同樣表現出間橋變形曲線不平滑,但是在D?點之后并未出現一段明顯的平穩期。Ren等的報道認為細胞感受和傳遞力學信號主要通過肌球蛋白II與肌動蛋白交聯蛋白的相互作用,這與本實驗的結果相符,我們認為這與低活性肌球蛋白II的ATP酶對細胞肌動蛋白網絡的調節有關。
圖5 NRK細胞間橋相對直徑隨時間變化曲線
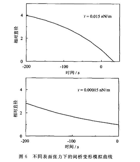
利用公式2通過OriginPro 8.0軟件對NRK細胞間橋動力學進行模擬得到的曲線見圖6。可以得出,表面張力取正常細胞1/10的理論曲線與整體blebbistatin處理組細胞D?點之前近似,而取正常細胞1/1000的理論曲線與整體施加blebbistatin并且同時抑制單側極區皮層肌動蛋白聚合的曲線近似。
實驗和模擬結果顯示,細胞表面張力的變化深刻影響著胞質分裂進程中細胞間橋的變形。我們之前的實驗表明,經過blebbistatin整體處理后的細胞,其間橋變形D?點之前與γ=0.015 nN/μm的模擬曲線較吻合,與正常細胞和單側子細胞CD處理后的正常細胞差異明顯,說明表面張力和分裂溝主動收縮共同影響間橋變形。另一方面,整體blebbistatin和局部CD共同作用下的細胞顯示了與其它各組不同的變化趨勢,其變形曲線近似為線性,這與彈性松弛變形的曲線相似,也與間橋變形動力學模型中當表面張力接近0的情況相近,結果顯示在去除分裂溝主動收縮的條件下,細胞表面張力直接決定著細胞間橋變形。
3結論
本實驗在測定骨架蛋白抑制劑作用下細胞表面張力變化的基礎上,對兩側子細胞表面張力不平衡狀態下的細胞間橋變形進行了形態學分析。結果顯示,在胞質分裂的細胞力學變形過程中,極區子細胞表面張力的變化與細胞分裂溝間橋的變化有著密切的聯系。抑制單側極區皮層肌動蛋白聚合降低了處理區域子細胞的表面張力,由此導致的兩極子細胞表面張力不平衡能夠引起細胞間橋變形進程的異常。正常細胞的單側極區肌動蛋白聚合受到抑制可以導致細胞間橋變形的停滯;對于經過blebbistatin處理而喪失收縮環主動性收縮的細胞,極區細胞皮層表面張力對細胞間橋的變形趨勢起主導作用。本文得到的實驗結果為研究細胞如何通過調節自身各區域力學特性從而引導胞質分裂的變形提供了基礎實驗依據。分裂細胞的力學變形過程與細胞在時間和空間上調節自身力學特性的聯系,是我們今后研究的重點。





